凯时

凯时

今日天气:
凯时|AG(AsiaGaming)优质运营商

通知通告

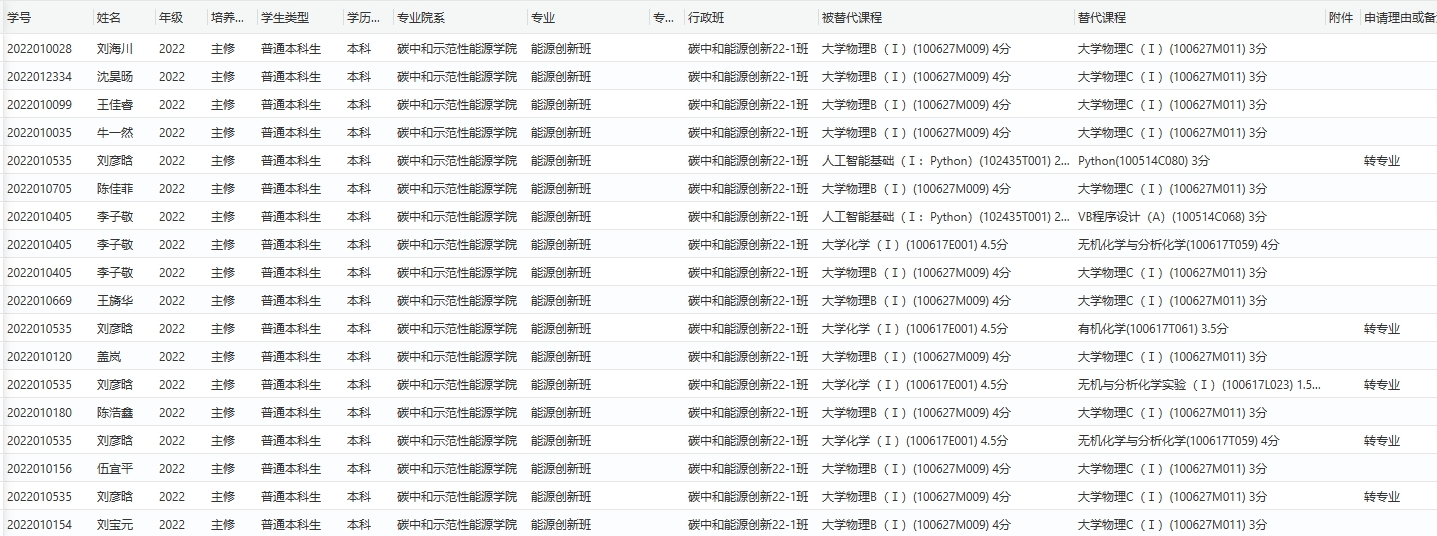
碳中和树模性能源学院本科生课程替换公示

宣布时间:2023-12-19

凭证遵照教务处要求 ,现对本科生申请办理课程替换情形公示如下:screenshot20231219.png

公示期2023年12月19日-2023年12月25日 ,共5个事情日 ,如对课程替换信息有异议 ,请联系学院院办范先生、任先生 ,电话89731770。


碳中和树模性能源学院

2023年12月19日

地点:北京市昌平区府学路18号 邮编:102249

版权所有:凯时(北京)碳中和树模性能源学院

TOP
【网站地图】【sitemap】
【网站地图】【sitemap】